综合激情avI激情五月在线I色视频在线免费I日韩黄在线观看Iav免费网站在线观看I国产黄免费看I9免费视频Ia天堂中文在线

深圳高房價解藥來了,居住用地太少,工業用地改用途建新房?!

房產大象 房產大象
2021-04-30 11:34 3583 0 0
對癥下藥

作者:陳佩奇

來源:房產大象(ID:FCDX2016)

一顆解藥來了。

不能保證百分百治本,治治標也是好的。

作為地最少的一線城市,只有1997平方公里的深圳,常被吐槽“房價太高,是因為沒地蓋房子”。

被diss也不是沒道理,去年深圳賣了4.5萬套新房住宅。

面對洶涌的剛性+改善需求,深圳的新房住宅真不夠用。

根據廣發證券對深圳市官方數據測算,截至2016年底,深圳全市存量住房約為4.57億米,其中商品房只有1.29億平,而按2000萬實際人口計算,人均只有6.5平,僅約為廣州的1/6。

01 

工業用地改居住用地

住宅供應量緊張,剛需買房有苦難言。

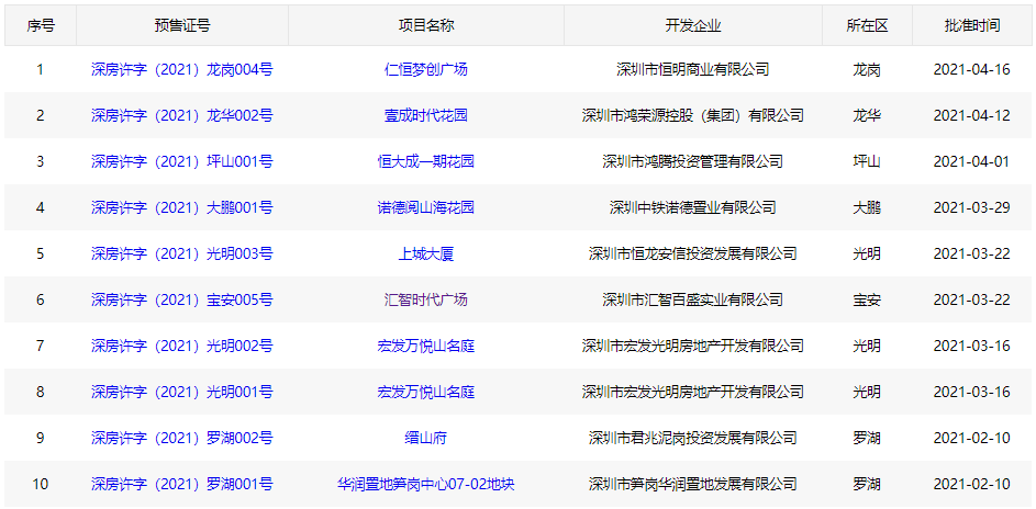
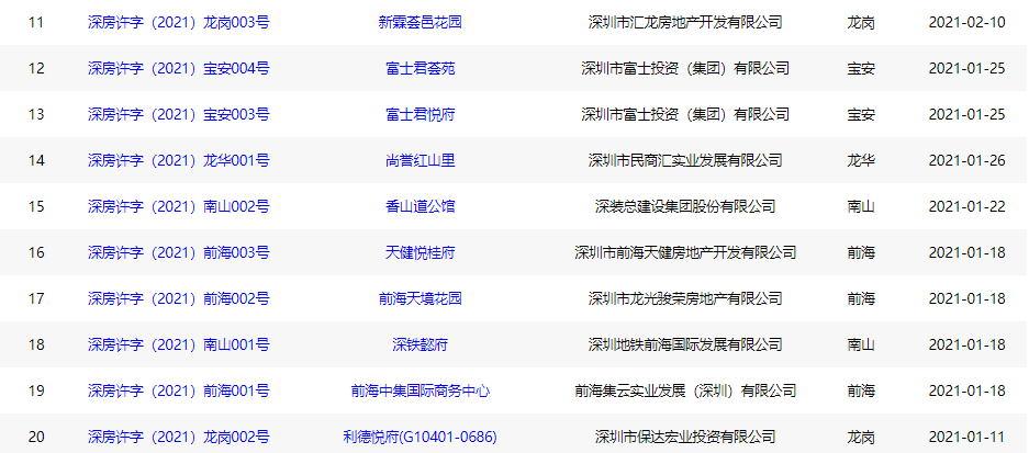
剛剛過去的一季度,深圳新房一共預售23個樓盤,其中住宅有18個。

這些住宅新盤,除了比較偏遠的板塊,要么售罄,要么賣了大半。

一季度,深圳工業用地出讓8宗工業用地、1宗商業用地。

1月,成交2宗工業用地,面積4.4萬㎡。

2月,成交2宗工業用地、1宗商業用地。

3月,成交4宗工業用地,面積5.5萬㎡。

而住宅用地只出讓了1宗,還是“商業+居住”混合用地。

(2月26日,開市客聯合星河實業,總價22.32億競得商住用地,含二類居住用地用途)。

深圳不缺工業用地,缺的是住宅用地。

居住土地緊缺與城市發展的矛盾日益尖銳,急需有效盤活存量用地,開拓發展空間。

經歷了轟轟烈烈的SFL、JYD事件,深圳領導班子換防,小產權房被央視點名……個中深意,想必大家有所了解。

打開深圳規自局官網,最近好幾份地塊規劃調整公告齊刷刷地說了一件事——新型工業用地調整為二類居住用地。

不吝嗇地講,這是一次創舉!

目前,深圳坪山、龍崗公示了地塊規劃,由新型工業用地調整為二類居住用地,調整了13塊住宅地塊。

盡管地塊位置集中在龍崗、坪山,數量也不算多,面積也不算大。這一次調整更大的意義在于釋放用地探索與試點的信號,未來不排除會在其他區域試點。

03

土地用途調整早有鋪墊

如果回顧前幾年土地政策動向,就不會認為這次用地用途調整很詫異了。

早在2019年,深圳發布《關于規范已出讓未建用地土地用途變更和容積率調整處置辦法的通知》。

當時就明確提出,為加強土地用途變更和容積率調整管理,依法妥善解決歷史遺留問題,盤活存量土地,保障公共利益,促進城市高質量發展,根據相關法律、法規,結合我市實際,制定本辦法。辦法有效期5年。

并且提到,商服用地、工業用地、物流倉儲用地等符合規定可變更為居住用地,但居住用地部分需要建可售人才房。

2020年8月初,國家自然資源部印發《關于支持粵港澳大灣區和深圳市深化自然資源領域改革探索意見的函》。

從國土空間規劃、空間用途管制、土地利用、耕地占補平衡、不動產登記、土地只征不轉等九個方面提出意見,支持廣東進一步提升自然資源要素市場化配置程度和效率,激發市場活力和創造力,推動自然資源領域治理體系和治理能力現代化,助力大灣區和深圳先行示范區建設。

這份意見提到,深圳將率先探索國有土地使用權續期路徑、利用存量建設用地開發建設住宅、分類盤活利用存量工業用地等一系列改革。

簡單來說,就是放權,允許深圳先行先試,探索分類盤活存量工業用地。

這項舉措有利深圳將部分工業用地調整用途,轉變為住宅用地,建設住宅和人才房,以滿足市民巨大的需求。

而這也是為深圳工業用地調整為住宅用地埋下伏筆。

隨著居住用地供應量增加,未來深圳房價會階段性穩一穩。

如果寄希望靠這顆解藥治病,恐怕沒那么容易。

03

今年居住用地供應363.3公頃

4月14日,深圳公共資源交易中心微信公眾號掛牌深圳首批集中出讓的6宗宅地,總建筑面積約91萬平,起始總價約105.76億,將于5月13日集中競拍。

與廣州、北京此前公布的首批48宗、30宗地塊相比,深圳的首批掛牌土地略顯單薄。

4月25日,深圳規自局發布《深圳市2021年度建設用地供應計劃》。

今年,深圳計劃供應建設用地總量1130公頃,其中,居住用地363.3公頃,產業用地171.4公頃,民生設施用地543公頃,商服用地52.3公頃。


就居住用地而言,今年供應量占總供應量的32.1%,較2019年、2020年居住用地計劃供應量分別提高了142%、24%。

加大住宅用地供應,工業用地調整用途,深圳正在對癥下藥,從供應端解決高房價難題。

注:文章為作者獨立觀點,不代表資產界立場。

題圖來自 Pexels,基于 CC0 協議

本文由“房產大象”投稿資產界,并經資產界編輯發布。版權歸原作者所有,未經授權,請勿轉載,謝謝!

原標題: 深圳高房價解藥來了,居住用地太少,工業用地改用途建新房?!

房產大象

房產大象致力于為您提供優質、原創、前沿、深度的房地產行業知識!買房、租房、驗房、裝修最全攻略,政策、行業、市場最新房地產動態,這里全都有!微信公眾號ID:FCDX2016

39篇

文章

10萬+

總閱讀量

特殊資產行業交流群
推薦專欄
更多>>
  • 金誠同達
    金誠同達

    金誠同達成立于1992年,總部位于北京,在上海、深圳、合肥、杭州、南京、成都、西安、沈陽、濟南設有分所,并在日本東京設有辦事處。今天,金誠同達已發展成為中國境內極具規模、最富活力的律師事務所之一。 在諸多業務領域,金誠同達都已成為行業里的領頭軍,能夠為客戶提供全方位、多層次、個性化的優質法律服務,業務范圍涵蓋公司設立與合規、資本市場、金融、保險、信托、房地產、項目融資、基礎建設、PE/VC、資產管理、并購、稅務、知識產權、互聯網、反壟斷、勞動法、訴訟與仲裁以及境外投資、外商投資、國際貿易、WTO爭端解決、跨境爭議解決等。

  • 睿思網
    睿思網

    作為中國基礎設施及不動產領域信息綜合服務商,睿思堅持以專業視角洞察行業發展趨勢及變革,打造最具公信力和影響力的垂直服務平臺,輸出有態度、有銳度、有價值的優質行業資訊。

  • 睿博恩重生筆記
    睿博恩重生筆記

    專注企業債務紓困與價值重組的實戰筆記?服務銀行、AMC、政府平臺及民營企業?涅槃貸 3.0 開創踐行者?以 “鐵算盤、鐵賬本、鐵規章” 重塑信用。

  • 小債看市
    小債看市

    最及時的信用債違約訊息,最犀利的債務危機剖析

  • 路數
    路數

    要有光,要讓房企更公開透明

  • 債市邦
    債市邦

    一位債市從業人員的市場觀察,僅為個人總結,不代表所在機構任何意見。微信號: bond_bang

微信掃描二維碼關注
資產界公眾號

資產界公眾號
每天4篇行業干貨
100萬企業主關注!
Miya一下,你就知道
產品經理會及時與您溝通